Німецькі автовиробники давно відомі своєю любов’ю до специфічних кріплень, які вимагають особливих ключів. Але BMW вирішила вивести цю стратегію на новий рівень. Компанія запатентувала новий тип гвинта, який стане справжнім нічним жахом для незалежних механіків та власників авто, повідомляє CarBuzz.
BMW ускладнює ремонт «своїми руками»: нові гвинти не відкрутити звичайним інструментом
► Читайте «Мінфін» в Instagram: головні новини про інвестиції та фінанси
Гвинт із логотипом: гарно, але неприступно
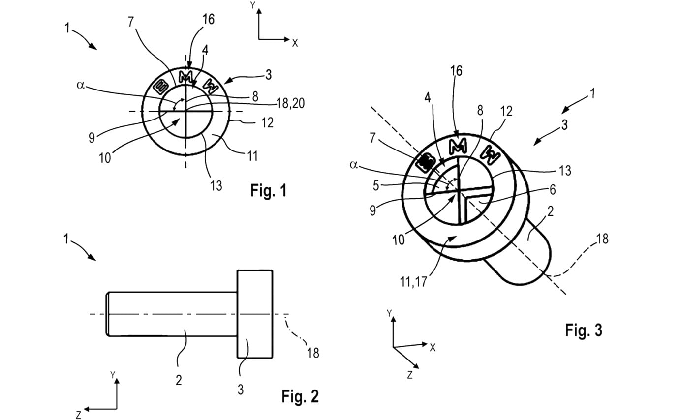
Головна особливість винаходу — капелюшок гвинта, виконаний у формі фірмового логотипа BMW (круглий «пропелер»).
Конструкція: Два з чотирьох секторів логотипа заглиблені (саме туди має вставлятися спеціальна біта викрутки), а два інші — плоскі.
Унікальність: Для такого кріплення не підійде жодна стандартна викрутка (плоска, хрестова) чи навіть складні зірочки Torx. Ба більше, по краях гвинта викарбувано напис «BMW», щоб нагадати, хто саме створив цю перешкоду.
.jpg)
Пряма заборона на неавторизований ремонт
BMW не приховує справжньої мети цього винаходу. У патенті прямо зазначено: форма гвинта розроблена так, щоб запобігти послабленню або затягуванню кріплення сторонніми особами, які не мають спеціалізованого фірмового інструменту.
За задумом компанії, ці кріплення з’являться у видимих місцях:
- Кріплення сидінь до кузова.
- З'єднання елементів кабіни (кокпіта) з конструкцією автомобіля.
Читайте також: Квартальний прибуток BMW зріс на 256%
Це критично важливі вузли, де зазвичай використовується висока сила затягування (крутний момент). Використання специфічного двозубого ключа в таких місцях може призвести до того, що інструменти будуть часто ламатися, а знайти їм заміну в звичайному будівельному магазині буде неможливо.
Що це означає для власників?
Якщо ці гвинти підуть у серійне виробництво, власники BMW опиняться перед складним вибором:
- Забудьте про гаражний ремонт: Навіть проста заміна або демонтаж елементів інтер'єру вимагатиме поїздки до офіційного дилера.
- Дорогі інструменти: Незалежним СТО доведеться купувати ексклюзивні набори ключів у BMW за значні суми, що підніме вартість обслуговування.
Читайте також: BMW призначила нового генерального директора
Наразі це лише патент, і є надія, що ідея залишиться на папері. Проте тенденція автогігантів до максимального закриття своїх систем від стороннього втручання стає все більш очевидною.
Переваги оформлення полісу ОСЦПВ на «Мінфіні»
🎁 Збираємо, аналізуємо, і показуємо найвигідніші пропозиції
Коментарі - 1